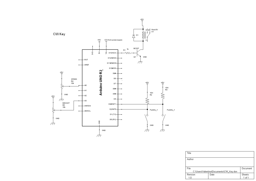
Заказывал через интернет http://keyby.narod.ru/keyby.htm
Пришел набор в комплекте с кабелем и разъёмом (фото 3)
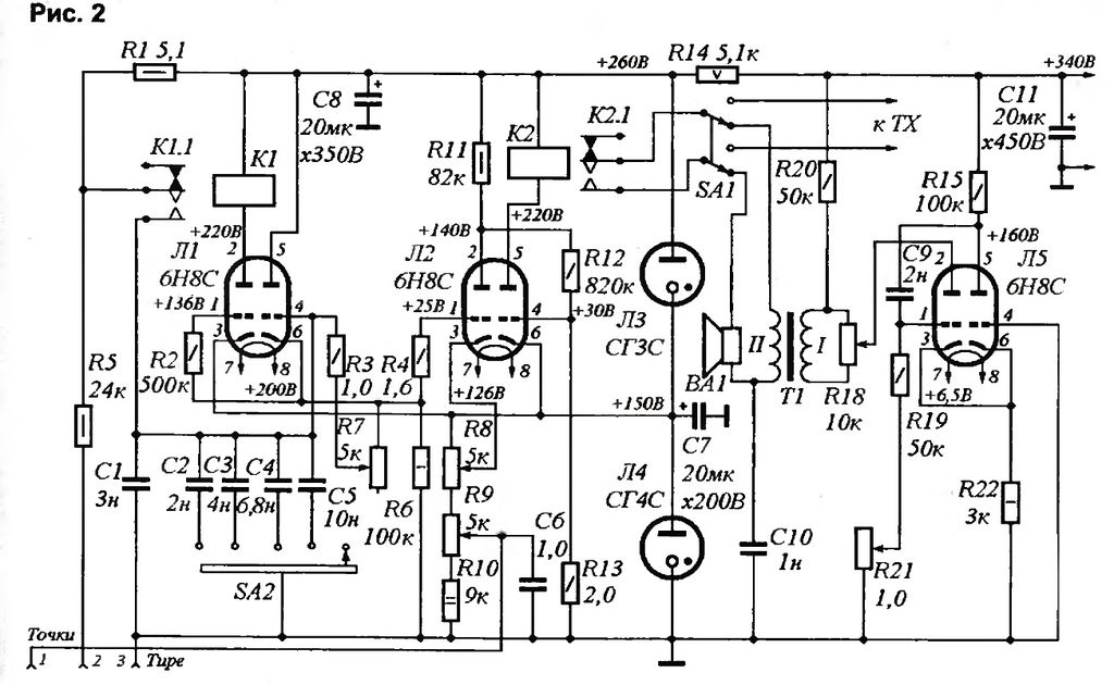
Сразу же его подготовил и обновил 12 числа в СНГ-контесте. Сравнение с моей "пилой" прилагаю. (фото2)
Ну и мой обновленный шек
Хотел фотки вставить наоборот, но как уж получилось

